时间:2010-10-08更新时间:2010-10-08
如果您想了解我们的产品,可以随时拨打我公司的销售热线或点击下方按钮在线咨询价格!
立即拨打电话享更多优惠:0371-67772626
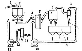
北京某矿有我国第一座采用闭路干式自磨、干式磁选工艺的选矿厂。闭路干式自磨系统如图1所示。原矿经粗碎到300-0毫米后,由皮带运输机1运到中间矿仓2,借矿石在皮带运输上卸落过程中惯性力的作用,粗细矿石产生一定程度的分级,将其分开贮存。然后用电振给矿机3把分别贮存在两个矿仓中的矿块按一定比例搭配(即偏析配比),给入自磨机5进行磨碎。被粉碎的物料在主风机10(主风机的作用是使调节好的空气流在自磨机和分级机内循环并运输物料)造成的强大风力作用下被连续排出,沿着管道进入沉降箱6进行第一次分级,较粗的颗粒便沉降下来。
细小的物料继续进入旋风分离器7,进行第二次分级,这时绝大部分细小物料都沉降。已在沉降箱和旋风分离器中沉降的物料靠锁气器8间断排出,贮存在粉矿仓9中,以便进行干式磁选。未被收集的微细物料在闭路风路系统中循环。闭路系统中主风机出口到磨机入口段,其静压值有部分为正压,粉尘易从这一段逸出。为使主风路系统在负压条件下工作,防止灰尘溢入室内漫延,减少微细物料和水分在主风路系统中造成恶性循环,设有副风路系统。副风路系统设在主风机与自磨机之间,由文氏管11洗涤器12及辅风机13组成。经副凤路系统净化后的气流排于大气中。




按自磨过程中是否添加金属磨碎介质分,可分为全自磨和半自磨。仝自磨时不添加金属磨碎介质。半自磨时添加少量的钢球,以弥补矿石中粗粒级的不足和用以研磨难磨粒级。在一段和两段自磨中,均有采用此种方法的,它对强化自磨过程起着显著的作用。
对于难磨粒级的处理方法,除了可采用半自磨外还有三种。一种方法是闭路循环,但易形成难磨粒级的累积,造成自磨机生产能力的降低。第二种方法是将难磨粒级从自磨机中引出,将其破碎到!" 毫米以下后再返回自磨机,它对处理致密而坚硬的矿石很有效。第三种方法是在自磨机的排矿格子板上开设砾石窗,将难磨粒级排出作为下段砾磨机的砾介。
自磨回路中分级作业有三种形式。第一种是开路方式,自磨的产物不返回,直接进下段作业处理。第二种为闭路方式,自磨的产物经分级后,不合格产物全部返回再磨。第三种为半闭路方式,即自磨产物经分级选别后,不合格产物部分返回再磨。
下一篇:干式自磨系统——风路系统的分类